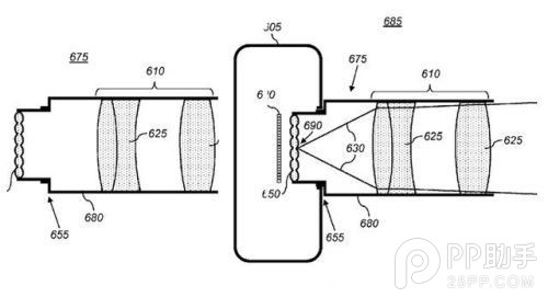
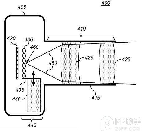
來自美國專利和商標局消息曝光,蘋果獲得了Plenoptic tech全光技術的拍照專利審批。Lytro光場相機技術同樣是采用采用的是先拍照,後對焦的使用模式。那麼明年蘋果即將正式推出iPhone6手機,而現在這項專利也已經獲得審批,是不是就意味著新一代蘋果手機會搭載這項技術呢?

所謂Plenoptic tech全光技術,就是在蘋果攝像頭的傳感器前面布置一個大量微鏡頭,方便形成光線感應器,從而可以捕捉到更多的光線。該項技術還支持用戶全光模式和普通模式之間的切換。

之前傳言未來的iPhone6手機將會配置大屏幕,支持的屏幕分辨率高達1920*1080像素,像素密度高達440ppi。現再加上這項技術的話,是不是意味著明年的iPhone6將會更值得我們期待呢?