最近從專利局中挖出的一項蘋果公司的新專利專利顯示:該項專利能夠讓智能手機知曉用戶握住手機的方式,提供自動單手模式,自動將用戶界面移動到用戶拇指可以觸摸到的地方。

自動單手模式
此外,蘋果公司表示,這項技術可以在現有iPhone硬件上實現,這意味著這種智能UI移位技術可能僅僅通過更新即可讓現有用戶獲得。它可以監控設備的運動或角度,或者拇指在屏幕上移動情況,甚至跟蹤信號性能的變化。

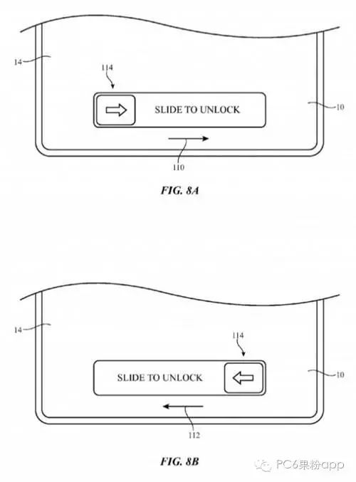
這項技術可以讓蘋果滑動解鎖界面自動適合左手或者右手來完成。
了解更多關於蘋果的信息,請關注公眾號
PC6果粉app∣一切與蘋果有關
