據appleinsider報道,美國專利商標局披露了蘋果的一項新專利,名為“為電子設備所設的主動屏幕防護”機制。為了防止手機因為意外跌落導致的屏幕碎裂或傷害,蘋果描述的這 項專利提了這樣一種系統:當手機感知到跌落時,手機屏幕上方就會自動伸出可伸縮的凸出小裝置,在玻璃和地面之間形成緩沖帶。
因為手機摔到地面上是稀松平常的事情,從一定高度跌落的iPhone,尤其在屏幕正面著地的時候,屏幕被破壞是肯定的了,這大概就是蘋果發明這項專利的原因。
這原理也很好理解,如下圖所示,就是在屏幕上方添加幾個可以伸出來的保護片,當他們都被彈出以後,即便屏幕正面朝下摔落,也會在屏幕和堅硬的地面之間形成空隙。而且專利中描述的這種保護片是會向屏幕內側彎曲的,這樣也就能更好地起到緩沖效果了。

從描述來看,這些保護片是在屏幕的邊緣位置,一般狀態下保持和屏幕齊平。這種保護片的材料取決於具體的結構,蘋果在專利中提到,可彎曲和剛性塑料、聚合物材料、金屬或者其他一些材料都是可行的。
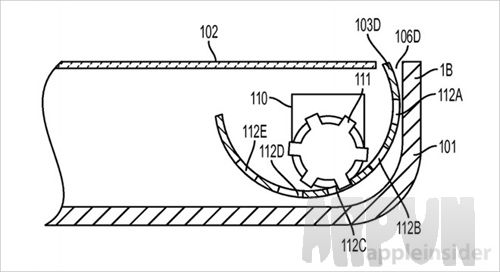
從下面的圖片就不難看出,這是個機械裝置,保護片伸出來靠的是裡面的齒輪。齒輪連接的自然就是驅動馬達了,幾個齒輪的轉動可以是聯動的。

至於感知手機跌落的組件,拿在現代手機中已經不是什麼問題了,加速計、陀螺儀甚至環境傳感器(如高度傳感器)都是可以用來作為感知跌落的組成部分的。不過在這項專利中,蘋果還提到攝像頭也可以用來干這活兒,檢測到地面急速靠近的時候自然就是手機在跌落了。還有像是音頻組件能夠用來確定高度、速度,通過超聲波脈沖就能達成。
在感知到手機跌落後,將保護片伸出來,起到緩沖的效果。隨後系統還會通過傳感器來確認跌落運動已經停止。一旦感知到跌落結束,機械裝置就會將保護片收回去。

蘋果之前就表現過對於這種主動跌落防護系統表現出興趣,但始終沒有應用到實際產品中。蘋果現在主要是在材料上下功夫,比如最新的iPhone 6s采用能夠支持3D Touch的定制型康寧玻璃。上述這項專利首度提交是在2014年4月份,發明人Tyson B. Manullang、Stephen B. Lynch以及Emery A. Sanford。