蘋果最新曝光的專利文件顯示,蘋果早已經開始研究曲面顯示屏的交互特性。
最近有消息稱蘋果計劃在明年推出三款 iPhone,其中兩款機型分別為 4.7 英寸和 5.5 英寸,依舊配備 LCD 顯示屏,而另外一款高端的產品將采用 5.8 英寸 OLED 屏幕,而且還是和三星 Galaxy S7 Edge 相似的 OLED 曲面屏。

這條消息在蘋果社區中也引起了巨大的反響,但是從目前的評價來看,大部分人對蘋果推出曲面屏 iPhone 的消息並沒有覺得很興奮,覺得這種曲面屏的實用性並不高。有人認為曲面屏的誤操作率高,使用起來並不舒服,根本不符合蘋果產品的體驗。
但是也有人認為現在就下結論否認蘋果不會使用曲面屏還太早,也許蘋果可以提供不一樣的曲面屏體驗,小心明年打臉。
現在的手機競爭越來越激烈,因此單靠簡單粗暴的配置比拼顯然已經不夠了,要想讓用戶認可,就要玩一些“黑科技”,其實說白了就是給手機來一些獨特的氣質,讓人老遠一看就能知道這是 XX 手機。那麼蘋果是不是也考慮給 iPhone 增加曲面屏,以進一步突出設備的與眾不同?

曲面屏的優缺點
說到曲面屏智能手機,目前主要有兩大品牌推出的產品比較受關注,即三星和 LG。其中 LG 的是可掰彎的塑料顯示屏,三星的為固定彎典的玻璃顯示屏,目前的曲面屏手機多采用與後者相似的特點,傳說中的曲面 iPhone 也是如此。
如果是 LG 的曲面屏幕,那該材質不容易損壞,彈性上比普通手機更強;如果是三星的,那就是外形看上去個性,至於實用性,鑒於手機尺寸有越做越大的趨勢,曲面屏幕可能更加方便操作。
曲面屏幕更易於人眼觀看。比如 LG 的顯示屏,雖然看上去像被掰彎了,但有專家表示這種屏確實更加符合人類視網膜弧度,能改善感官體驗。這一點也許在曲面電視屏幕上的感受更直接一些。
曲面屏幕厚度低,重量輕且功耗低。這與柔性屏幕采用的 AMOLED——有源矩陣有機發光二極管技術有關。這種二極管省電、能耗低、支持彎曲顯示。這對智能手機繼續向著更加輕、薄且續航長來說十分有利。
曲面屏手機的缺點:
手機內部硬件的不可彎曲,比如手機的處理器、電池等。雖然 LG 一定程度上解決了電池的彎曲,但距真正的手機內部硬件全部彎曲還有很長的路要走。
雙曲面屏幕的特殊材料對空氣、濕氣比較敏感,其耐用性遠不如傳統的玻璃材料,而且塑料也不如玻璃耐刮。

生產成本過高,導致手機價格也比較高。
現有產品在市場上評價如何
那麼在實際使用中,這種曲面屏幕到底給用戶帶來了什麼樣的體驗的?在這裡我們就通過三星今年最新發布的 Galaxy S7 Edge 來了解。
用戶評價表示,使用三星的這款曲面屏手機時,最直觀的一點是,它所帶來的視覺上的愉悅感,頁面內容像浮在表面,單純地左右滑動屏幕,看文字、圖標在邊緣隨著屏幕而彎曲都會成為一種打發時間、思考人生時的小樂趣。
雖然經過了一年的發展和積累,但是曲面屏幕在功能上的創新確實少之又少。在設置中,三星單獨增加了一項“曲面屏幕”,對應著亮屏和息屏幕有不同的功能。亮屏時候,在屏幕的右側邊緣靠近電源鍵的位置,會有白色弧形條狀角標,就像是給手機增加了一個標簽,向裡滑動可以現實日歷、天氣、快捷應用、新聞、快捷聯系人、浏覽器快捷鍵、指南針等等。
息屏狀態下,可以滑動右邊緣顯示未接來電、運動步數、雅虎新聞等等,還可以在手機倒扣桌面時,在有電話呼入時點亮側邊屏幕起到提醒的作用。
除了曲面屏功能設置上的不足之外,第三方應用支持的嚴重缺乏也是很大一方面的原因。
Galaxy S7 Edge 的不完美也是來自於這款平面屏幕,除去邊緣彎曲處在正面看來會有一定的偏色(輕微偏藍,無可避免),一個缺陷是,它的防誤觸做得不夠好,而它的嚴重程度其實遠超過曲面屏功能上的畫蛇添足,你不喜歡的話可以完全關閉側屏功能,但對於誤觸你只能等待三星官方推送更新。
實際上,誤觸出現的時候都是一些小細節,比如拍照下,你雙擊 Home 鍵快速啟動了相機,卻在點擊拍攝按鈕的時候發現它沒有反應。這個時候稍微挪一下手指就避開了。出現的幾率不是很高,但對用戶體驗的影響卻是致命的,甚至可能抵消掉了相機快速啟動上的優勢。社交媒體上關於誤觸的抱怨時有出現,三星在後續推送了一次專門針對曲面屏防誤觸的更新,但也有用戶表示,隨著對設備的熟悉和使用,誤觸出現的幾率比一開始降低了很多,鍵盤輸入文字的時候也很少會出現點按半天沒反應,還需要拱起大拇指的情況了。
除了三星和 LG 之外,國內也有一些廠商推出了曲面屏手機,但是卻無一例外地避免不了曲面屏幕功能雞肋這個尴尬的問題。
蘋果從未放松過對曲面屏的研究
當然蘋果公司應該也在研究這方面的可能性,蘋果最新曝光的專利文件顯示,蘋果早已經開始研究曲面顯示屏的交互特性。
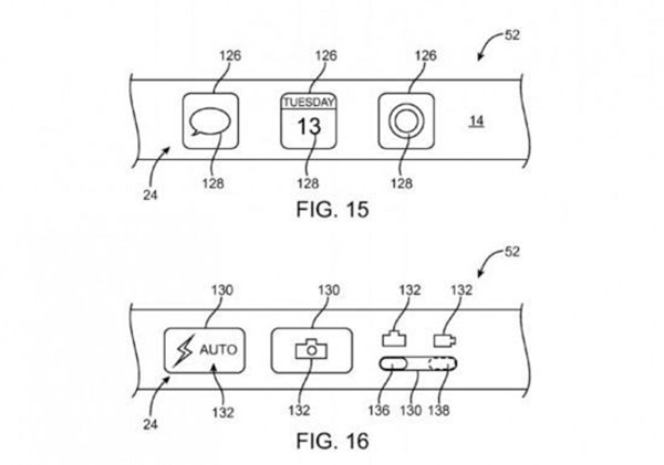
目前的曲面屏產品似乎並未有效提升用戶體驗。根據蘋果此項專利介紹,該曲面屏承載的功能要遠遠多於 Galaxy S7 Edge。從專利設計圖來看,曲面屏幕上擁有虛擬按鍵以及多重信息顯示功能。這些虛擬按鍵包括透明按鈕、鏡頭、觸覺反饋組件、音頻反饋組件以及其它能夠激活虛擬按鈕的組件,與此同時,虛擬按鍵還能提供類似物理按鍵的觸覺回饋。

設備曲面邊緣配備了輸入感應層,能夠感知輕觸、滑動、翻動、或者其他動作。使用搭載虛擬按鍵的電子設備時,曲面屏幕上會實時顯示圖像以便提示用戶當前虛擬按鍵的功能。虛擬按鍵的功能也會根據用戶的使用場景來變化,如聽音樂時,某一虛擬按鍵可以轉換為音量控制按鍵;拍照時則根據用戶需求轉變成相機快門鍵;之外,它還可以配置成其它設備的遙控器。
2個月前,蘋果獲得一項名為“環繞式屏幕”的最新專利。專利文件中顯示,這項專利允許一款設備充分利用側面和背面空間,讓移動設備擁有 360 度環繞式屏幕。
而在之後的一個月,蘋果又通過了一項 OLED 曲面顯示屏專利。從這些動作來看,蘋果未來將很有可能在 iPhone 上使用曲面屏幕設計,至於它最終會以何種方式呈現,暫時還無法得知。