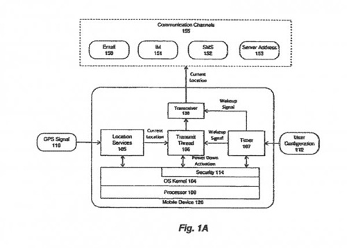
11月5日消息,蘋果的“查找我的iPhone”功能相信你應該聽說過,在丟失手機後用戶可以憑借這個功能定位手機,只需登陸iCloud.com,或使用查找我的iPhone app,即可在地圖上看到遺失的iPhone、iPad、iPod touch或Mac,另外也可以遠程抹掉手機數據,但如果小偷將手機關機、拔掉SIM卡的話就沒轍兒了,不過蘋果最近的一項新專利曝光,哪怕iPhone處於關機狀態用戶也能激活“Find My iPhone”功能。

根據專利描述,iPhone內部將會啟動專用的計時器,每隔一段時間自動打開Find My iPhone功能,向機主發送當前的位置信息,哪怕在沒電關機的情況下依然能夠使用Find My iPhone功能,據悉這個功能對iPhone的續航不會產生太大的影響。
當然,無法確定這個專利最終是否會成為現實,但該專利能夠明顯提高查找我的iPhone功能的實用性,相信其成真的可能性會很大。