你好,歡迎來到IOS教程網

 Ios教程網 >> IOS教程 >> 蘋果手機教程 >> 簡單一步鑒蘋果配件真假

簡單一步鑒蘋果配件真假

編輯:蘋果手機教程

   關於蘋果配件真假鑒別的方法,其實網上已經有很多了,大多都是超細致的教程,其實在日常生活中,我們去數碼城購買這些配件很少會有機會如此細致的檢查,所以小編今天就為大家帶來簡單鑒別蘋果配件的方法。

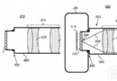
  簡單一步鑒別真假蘋果耳機

  其實都不用小編多說了,大家看圖就可以了,堵住圖示中1、2兩處,如果堵住後聲音有變,就說明耳機是原裝的,如果堵住後聲音無變化,那就是山寨高仿耳機了。

簡單一步鑒蘋果配件真假

  圖示中的1、2兩處是低頻出聲口,山寨廠商學的了外觀,但卻學不了蘋果的專利技術,所以鑒別蘋果耳機真假,用這一招就夠了。

  鑒別蘋果數據線最簡單方法

  至於鑒別蘋果數據線的真假,也有一個超簡單的方法,那就是磁鐵鑒別法,只需要找一小塊磁鐵,直接吸附一下數據線USB插頭的金屬殼,如果感覺不到吸附感,那麼數據線一般就是原裝的了,如果一下就能吸附住,那麼就一定是山寨的組裝線。原理也很簡單,一般山寨廠商做數據線的接口都會使用便宜的金屬(鐵),這樣才能最大程度的壓搾利潤。

  鑒別蘋果充電頭的方法

  鑒別蘋果原裝充電頭也有一個非常簡單省時的方法,只需要兩個步驟,一是看電源插腳,蘋果是一家十分重視工業設計的公司,其電源適配器自然也不例外,蘋果原裝的充電頭的插腳是圓潤光滑的,而假貨則必然坑坑窪窪。

  第二個步驟是看印刷標識,蘋果的產品有獨特的字體,顏色較淡,要仔細看才能看清,而假貨則顏色較深,一眼就能認出來。

  1. 上一頁:
  2. 下一頁:
蘋果刷機越獄教程| IOS教程問題解答| IOS技巧綜合| IOS7技巧| IOS8教程
Copyright © Ios教程網 All Rights Reserved