你好,歡迎來到IOS教程網

 Ios教程網 >> IOS教程 >> 關於IOS教程 >> 蘋果新專利:手機自我檢測是否被摔

蘋果新專利:手機自我檢測是否被摔

編輯:關於IOS教程

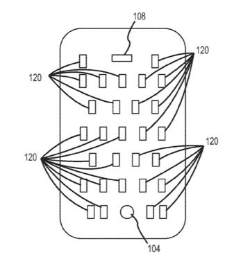
   蘋果今天獲得了被稱為“嵌入數據獲取”的新專利,這份專利描述了一種將大量傳感器嵌入玻璃中的技術。這些傳感器可以檢測和記錄玻璃曾經承受的力。這種方法要比目前使用的傳感器與玻璃連接技術更好,因為傳感器可能會在玻璃與堅硬的表面撞擊後脫離。

  蘋果想要使用這種新方法進行生產和產品開發,獲得跌落和撞擊測試結果。嵌入在玻璃內的壓電式傳感器可以記錄在設備內存中,並允許工程師訪問,了解玻璃碎裂的原因。除了設計更堅韌的玻璃,蘋果還提到了第二種使用該技術的方法。

蘋果新專利:手機自我檢測是否被摔     

  專利中提到,數據可以用來評估用戶如何對待設備。如果用戶攜帶出現問題的設備前去天才吧維修,傳感器獲得的數據可以用來發現設備究竟是否被摔過。蘋果將可以通過數據確認設備是否應該享受保修。

  1. 上一頁:
  2. 下一頁:
蘋果刷機越獄教程| IOS教程問題解答| IOS技巧綜合| IOS7技巧| IOS8教程
Copyright © Ios教程網 All Rights Reserved