試想一下,如果你的下一代iPhone將具有自動跌落保護機制、或是防止陌生人使用的生物指紋識別系統,是不是很酷?又或者是MacBook屏幕可以拆下來,充當一個便攜式平板,你會感興趣嗎?這並非癡人說夢,根據蘋果最新的專利組合,在未來都有可能實現。事實上,蘋果近期在美國專利和商標局申請了多達15種的最新專利,雖然我們暫時無法得知它們會出現在哪些產品上、什麼時候會出現,但是這些想法無疑都是令人興奮的,下面就來看看這些未來的蘋果產品會為我們帶來怎樣的新奇體驗吧。

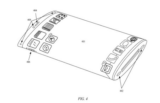
一. 擁有全環繞式顯示屏的iPhone

眾多周知,蘋果並不希望通過增加手機尺寸來提升顯示面積,所以便有了這個“環繞顯示電子設備”的專利。根據相關文件顯示,使用了這種專利技術的iPhone將采用中間厚、邊緣薄的梭型設計,不僅能夠帶來更大的顯示面積,允許用戶同時顯示兩個應用內容,還可以更方便地分享圖片視頻等多媒體內容。同時,傳統的物理式按鍵都會被取消,如果需要調節音量,只需用手在顯示屏旁邊懸停一下,就能夠看到相應虛擬控制按鈕。總得來說,這個設計的概念與三星的柔性屏幕手機很相似,但對於目前的iOS系統來說,取消Home鍵似乎暫時還無法實現。
二. iWatch智能手表

在近幾個月來,蘋果“iWatch”智能手表的傳言愈演愈烈,這一切都歸功於今年早期蘋果申請的一項專利技術。該專利的描述了一種具有柔性屏幕設計的可穿戴式智能設備,雖然沒有明確指向智能手表,但毫無疑問是最為接近的。根據彭博社的預測,蘋果iWatch或將采用柔性屏幕設計來實現可卷曲造型,就像一個老式的手镯,並且運行iOS系統,已經有100多個開發者投入到相關工作中。
三. 具有自我保護功能的iPhone

蘋果iPhone雖是最好的智能手機,但從來都不是最堅固的,易碎的屏幕向來令用戶诟病。蘋果似乎也意識到了這個問題,“電子設備保護機制”的專利內容顯示,通過在iPhone內置相應傳感器,來識別跌落動作,然後自動調整手機的方向,避免脆弱部分的損傷,比如屏幕。如果未來iPhone真得能夠自動“翻身”的話,想必我們也不必再忍受昂貴的屏幕更換費用了。
四. 內置於屏幕中的指紋解鎖

蘋果向來不喜歡復雜而丑陋的設計,所以如果要內置一個碩大的指紋識別裝置到iPhone中,基本上是不可能的;而將其融入到觸摸屏中,顯然是一個完美的解決方案。這項專利應用了生物指紋識別系統,在你滑動解鎖的時候讀取你的指紋信息,從而提高iPhone的安全性。同時,蘋果也將對App Store中的軟件商開放API接口,讓它也可以應用到更多場景中。比如你使用網銀進行支付,完全不必再輸入密碼,只需滑動手指來驗證身份,畢竟指紋是獨一無二的,遠比密碼來得安全。
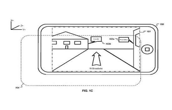
五. 室內導航

蘋果CEO蒂姆·庫克曾公開表示,將盡快重整令人诟病的蘋果地圖應用;同時,蘋果iOS開發團隊似乎對地圖應用還有一些更新的想法。根據一份最初在2011年提出的專利內容顯示,蘋果將開發一個支持室內環境映射的導航系統。考慮到之前蘋果公司收購了室內測繪公司WiFiSlam,使得這個傳聞變得更加可信。另外,該專利還能應用於街景導航,提供環境的360度全景還原功能。
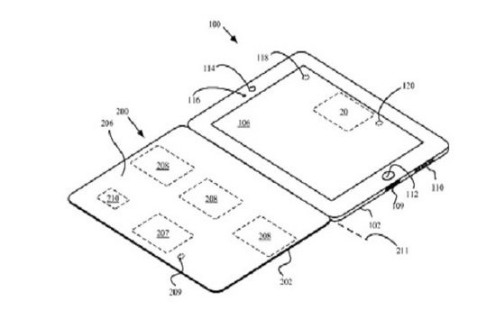
六. 筆記本/平板混合式MacBook

微軟Windows 8系統讓支持觸摸屏的電腦/混合平板逐漸普及,蘋果其實也擁有類似的產品計劃。這個專利描述了一種可以拆卸式筆記本產品機制,顯示器與底座通過某種接口連接,並且顯示屏支持觸摸功能,能夠完成一切的電腦功能操作。更有趣的是,拆下的顯示器部分,依舊可以通過無線充電功能從底座上獲得電力。不過,從蘋果對使用體驗的完美苛求態度來看,Mac OS X系統的觸摸化轉變將是一個碩大的工程,而不會像微軟Windows 8那樣倉促推出。
七. iPhone的增強現實功能

蘋果的專利“具有互相性和同步功能的增強現實顯示設備”,描述了iPhone手機如何實現增強現實的功能。基於AR專利的基礎上,可以顯示你周圍真實世界的相關信息,並且通過現場視頻的形式來展現。另外,用戶能夠與數據庫進行交互操作,以糾正錯誤信息或添加丟失的數據。
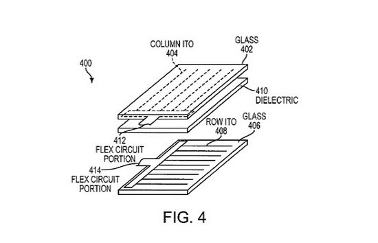
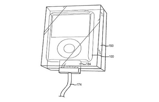
八. 太陽能供電的iPhone

忘記無線充電吧,蘋果或許將在未來的iPhone中提供太陽能充電功能,並且是通過將太陽能充電板集成到屏幕中而實現的。這項雖在今年才公開但早在2008年就已成功遞交的專利,提出了在觸摸屏傳感器陣列的電極上增加吸收太陽能的功能,並非傳統的太陽能手機,需要單獨設計一塊接收板。
九. 在呼叫等待中顯示定制化內容

這是一個iOS功能性方面的專利。沒有人喜歡呼叫等待的時候,蘋果則希望讓這個時間更好地被利用起來。比如你和一個聯系人進行通話,在呼叫等待的過程中,屏幕會顯示與他個人相關的內容,比如約會、相關日程等。
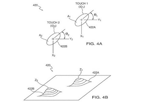
十. 智能操作

近期發布的三星Galaxy S4,可以實現懸浮預覽的先進的手勢功能,讓用戶進行照片、視頻等內容的預覽操作。無獨有偶,蘋果也具有一份名為“直觀的,基於手勢的通信物理操作”專利內容,其中指出,可以通過設備的前置攝像頭來分辨用戶的動作,來實現各種操作。
十一. 具有遠程控制功能的設備

三星Galaxy S4、HTC One和LG Optimus G Pro等最新智能手機,都搭載了一個紅外端口,從而取代傳統的家電遙控器,蘋果的一個專利也暗示了相似的功能。名為“便攜式媒體播放器遠程控制”的專利表明,可以使用iPod等設備來遙控家電。雖然並沒有明確指向iPod,但文件內容傾向於將其應用MP3播放器上,以實現遠程操控揚聲器等設備。我們可以很容易地看到這項功能擴展到iPhone和iPad上,用於遙控未來極有可能出現的蘋果iTV智能電視。
十二. 根據環境溫度改變顏色的顯示技術

蘋果似乎要嘗試使用新的方式來調整移動設備屏幕上的顏色效果。據其專利“根據環境溫度改變顏色顯示”的描述,這項技術將檢測環境溫度,從而調整屏幕的顏色效果,帶來更精准的顯示。事實上,液晶面板會隨著溫度的不同而改變顯示屬性,比如在高溫下容易顯示藍色,而低溫下則顯示更多黃色,所以這項技術也是具有一定實用價值的。
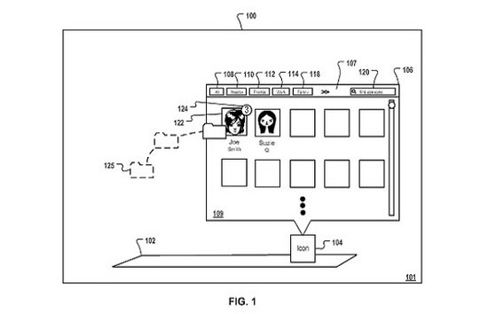
十三. Mac系統的圖形化聯系人管理界面

雖然蘋果近年來專注於移動設備領域,但也沒有拋棄Mac桌面系統。在今年三月底公布的一項專利描述了一種新的用戶界面,將帶來圖形化的整合式聯系人界面。該專利的標題為 “聯系人圖形用戶界面”,這個功能允許你設置每個聯系人的照片和排名,類似於大多數智能手機上 “我的最愛”功能。從理論上講,你就可以拖動任何文件到聯系人頭像中,輕松地共享內容。
十四. 提供蘋果產品定制服務的自動售貨機

這項專利告訴我們,未來你在Apple Store購買產品,不僅僅可以在機身背部刻字,還可以直接通過自動售貨機,在不開啟外包裝的情況下,實現更多內容定制服務。專利指出,你可以定制設備內的應用程序、iTunes多媒體內容,甚至通過自動售貨機添加類似“生日快樂”的信息到設備中。
十五. 能給 iPad充電的Smart Cover

一項名為“在保護殼中集成感應式充電”的蘋果專利顯示,未來的iPad Smart Cover保護殼很可能會變得更加“聰明”。Smart Cover中將添加一個內置的感應器和電力,將保護蓋合上時即可為iPad充電。另外,蘋果在專利中標注,這項專利並不僅僅局限於iPad產品,也能夠兼容的許多形式的電子設備。